|
MODELLO |
POTENZA |
POTENZA UTILE |
MISURE (mm) |
ATTACCHI |
|||||||
|
Kcal/hKw |
Kcal/hKw |
A |
B |
C |
D |
R |
M |
F |
CAMINO |
||
|
EBC 20 |
23.000-26,74 |
18.400-21,40 |
660 |
1000 |
660 |
1580 |
1065 |
1305 |
1485 |
100 |
1"1/2 |
|
EBC 30 |
29.000-33,70 |
25.000-29,00 |
660 |
1000 |
660 |
1880 |
1365 |
1605 |
1785 |
100 |
1"1/2 |
|
EBC 50 |
58.000-66,00 |
50.000-58,00 |
820 |
1170 |
820 |
1650 |
1060 |
1330 |
1430 |
100 |
2" |
|
EBC 60 |
71.000-82,50 |
60.000-69,70 |
820 |
1170 |
820 |
2000 |
1545 |
1735 |
1865 |
100 |
2" |
|
EBC 80 |
84.000-93,00 |
70.000-81,10 |
900 |
1250 |
900 |
1700 |
1245 |
1435 |
1565 |
130 |
2" |
|
EBC 90 |
94.000-109,30 |
80.000-93,00 |
900 |
1250 |
900 |
2000 |
1545 |
1735 |
1865 |
130 |
2" |
|
EBC 150 |
176.000-190,00 |
150.000-174,00 |
1180 |
1430 |
1180 |
1850 |
1405 |
1685 |
1715 |
150 |
3" |
|
EBC 270 |
271.000-315,00 |
230.000-267,40 |
1180 |
1430 |
1180 |
2200 |
1755 |
2035 |
2065 |
150 |
3" |
|
EBC 400 |
471.000-547,60 |
400.000-465,10 |
2000 |
2250 |
2000 |
2200 |
1755 |
2035 |
2065 |
300 |
3" |
|
EBC 500 |
589.000-684,80 |
500.000-581,30 |
2000 |
2250 |
2000 |
2500 |
2055 |
2335 |
2365 |
300 |
3" |
![]() |
|
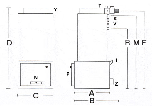
A= ingombro base laterale |
D= altezza totale |
F= altezza ventola fumi |
P= portello apertura braciere |
|
B= ingombro base laterale + ventola fumi |
S= pozzetto sonda caldaia |
V= valvole di sicurezza |
N= ingresso aria comburente |
|
R= altezza ritorno impianto |
Z= scarico caldaia |
Y= sportello ispezione scarico fumi |
T= innesto sonda fumi |
|
M= altezza mandata impianto |
I= ingresso mais |
C= ingombro base frontale |